,

3/8″-16 S. Steel Knob w/ S. Steel Shaft and Collet

Stainless Steel Knurled Captive Screw Knob Assembly – With Captive Threaded Collet

PN: T38ASKS-01S

Size: 3/8″-16

Material &  Finish:

Knob: 303 Stainless Steel

Shaft: 18-8/303 Stainless Steel

Collet: 303 Stainless Steel

Captive screw knob assemblies remain attached to the fixture, eliminating lost hardware while enabling faster changeovers and setup. They also enhance the overall look and feel of the finished product.

Each fastener consists of a spring-loaded screw knob, shaft, and collet. Installation is quick and simple—just insert the collet into a threaded hole in the fixture and tighten. The collet includes wrench flats for easy installation.

When unfastened, spring tension holds the knob away from the fixture, with the shaft fully retracted into the collet. This creates a flush surface on the back side, making it ideal for sliding applications. When fastened, the knob is drawn down over the collet, providing secure clamping.

Instructions included.

Data Sheet

Knob Dimensions

Shaft Size: 3/8″-16 UNC | A: 7/8″ | B: 2″ | C: 1″ 5/8 | D: 2″ 1/32 | E: 9/16″ | G: 3/8 ” | H: 5/8″-18 UNF

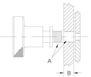
Panel Preparation Dimensions

Shaft Size: 3/8″-16 UNC | Collet Size (A):  5/8″-18 UNF | B: (max thickness): 1/2″

Note: For panels less than MAX thickness, add spacers as needed between the sleeve and panel or view our flange mounts sold separately.

Caution: Keep end of collet flush with back of panel.